山东菏泽华兴仪器仪表有限公司是一家专业的取样器厂家,主要生产、销售密闭取样器气体取样器和采样器等,并提供批发,报价、参数等信息。
联系我们
    山东菏泽华兴仪器仪表有限公司
    乔经理:15964664633
    销售部:0530-6200393
    传真:0530-6298180
    地址:山东省菏泽市解放北街168号
当前位置:首页 > 新闻资讯 >

新闻资讯

大气采样器流量校准方法
时间:2021-03-08 15:55:35 来源:原创

为了获得准确的采样体积,凡新购置或已经使用过一段时间的大气采样器,必须对其流量进行校准。流量校准一般有三种方法:皂膜流量计校准法、湿式流量计校准法、标准流量计校准法。皂膜流量计校准法,是最简便最可靠的方法。简介如下:

1.构成流量校准系统需准备下列仪器设备:

皂膜流量计一支

U型压力计一个

滴定架-一个

多孔玻板吸收管一支

三通管-一个

缓冲瓶-一个

秒表一个

待校准的大气采样器

乳胶管约2米

配制皂液。

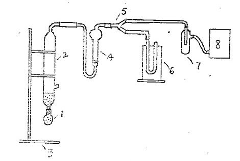
仪器安装如下见示意图:


大气采样器流量校准示意图

大气采样器流量校准示意图

1、皂液,2、 皂膜计,3、滴定架,4、吸收管, 5、三通管, 6、U型压力计,7、 缓冲瓶, 8.大气采样器。


二、皂膜中途破裂处理


开始,往往会出现生不成皂膜或皂膜半途破灭的现象。原因:一是皂 液浓度过稀或过稠,应作适当调节;二是皂膜计内壁不滑润,可开大流量,捏住胶囊不放,不断产生皂膜,一个接着一个地向上推进、直至皂膜到达顶部为止,利用皂膜来均匀地滑润管壁。

三、皂膜计内皂液量

皂膜计内到底装多少皂液书上并没有作具体要求,在实践中体会到:若皂液面与皂膜计的进气口相平,会出现连续不断地生成皂膜,影响校准工作的进行;若皂液装得太少则无法生成皂膜;实践证明,皂液面精低于皂膜计进气口为宜。

四、标定流量计的刻度值

流量校准后,记下转子所在的高变,然后,卸下流量计外壳,使用园珠笔或签字笔,用小三角尺在转子所在的高度上工正地划一刻度线,并标上流量值。

相关资讯:
2021-03-17 16:30:54采样器的详细介绍
2021-03-31 14:24:44采样器的选用原则
Copyright © 山东菏泽华兴仪器仪表有限公司是一家专业的取样器厂家,主要生产、销售密闭取样器气体取样器和采样器等,并提供批发,报价、参数等信息。 www.sdhzhxyqyb.com 版权所有 技术支持:
乔经理:15964664633 / 销售部:0530-6200393 传真:0530-6298180 地址:山东省菏泽市解放北街168号 备案号:鲁ICP备2025170081号
企业分站:
河北 山东 济宁 菏泽 江苏 浙江 河南